przejdź do tekstu głównego

Dyski przeznaczone do nadrukowania

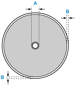
Obszar wydruku w przypadku dysków przeznaczonych do nadrukowania wynosi od 17 mm (0,67 cala) średnicy wewnętrznej do 1 mm (0,04 cala) średnicy zewnętrznej powierzchni drukowania.

Możliwy obszar wydruku

  • A: 17,0 mm (0,67 cala)
  • B: 1,0 mm (0,04 cala)